ES Prüfschleusenmodule für Covid-Hygienemaßnahmen.

.....Kontrolle ist besser!:

Als Stand- oder Wandgerät in unterschiedlichen Modulen für Einlaßzonen - z.B. in Märkten:

Die Drehkreuzfreigabe erfolgt entsprechend Modulausführung erst nach negativem Prüfergebnis auf Maske und Temperatur und der Nutzung des Sensor-JUMBO-Desinfektionsmittelspenders.

Das Drehkreuz kann in beide Richtungen verwendet werden. Zur Erhöhung der Durchgangsmenge mit Go-Call-Funktion. Die Thermo-Visuelle Kamera mißt in Echtzeit (0,1 - 0,2 sek) die Gesichtstemperatur, erkennt die korrekte Anwendung der Gesichtsmaske - optischer und akustischer Alarmgeber bei positiven Meßergebnissen.

Die Eintrittszeit wird aufgezeichnet, Schnittstelle zum Anwesenheitsmanagementsystem. 

Dazu Edelstahl Sensor-JUMBO-5 Ltr-Desinfektionsmittel u. Seifenspender zur Wandmontage. Material Edelstahl, matt. Die Einheit in vandalensicherer Ausführung. Das System ist auf Netzbetrieb ausgelegt.

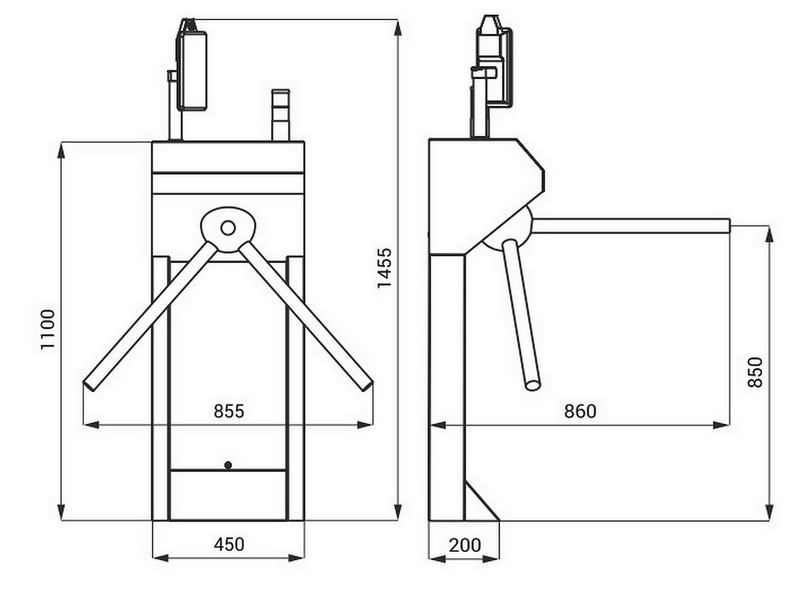
ES Prüfschleusenmodulversionen Stand-Wand DC
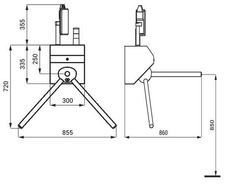
ES Prüfschleusenmodulversionen Stand-Wand ESKT DC
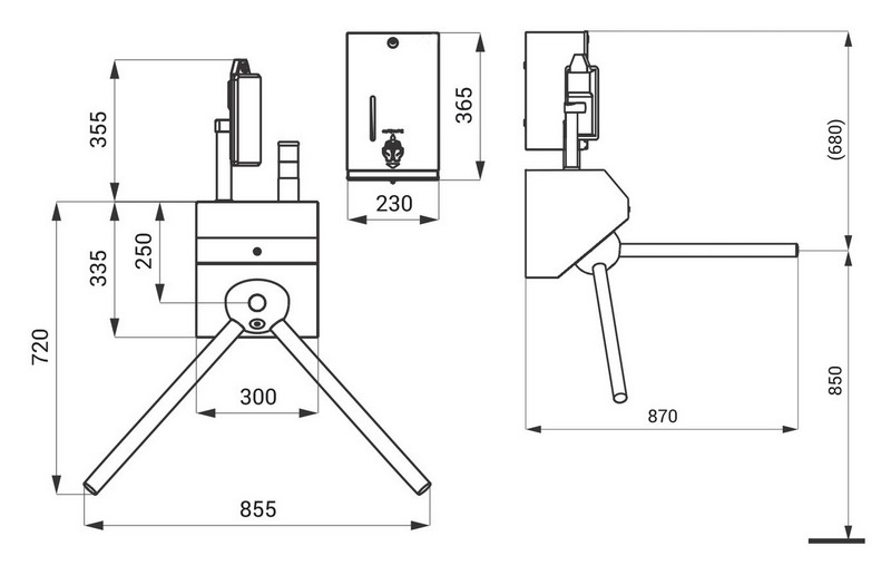
ES Prüfschleusenmodul Version ESLKTS DC als Standgerät
ES Prüfschleusenmodul Version ESLKTS DC als Standgerät
ES Prüfschleusenmodul ESKTS DC Z
ESKTS Z
ES Prüfschleusenmodul ESKTW DC Z
ESKTW DC Z
ES Prüfschleusenmodul ESKTS C
ES Prüfschleusenmodul ESKTS C
ES Prüfschleusenmodul ESKTS C Z
ES Prüfschleusenmodul ESKTS C Z
ES Prüfschleusenmodul ESKTW C
ES Prüfschleusenmodul ESKTW C
ES Prüfschleusenmodul ESKTW C Z
ES Prüfschleusenmodul ESKTW C Z
ES Prüfschleusenmodul ESKTS D
ES Prüfschleusenmodul ESKTS D
ES Prüfschleusenmodul ESKTS D Z
ES Prüfschleusenmodul ESKTS D Z
ES Prüfschleusenmodul ESKTW D
ES Prüfschleusenmodul ESKTW D
ES Prüfschleusenmodul ESKTW D Z
ES Prüfschleusenmodul ESKTW D Z

In Kombination mit Waschräumen:

Siehe auch dazu mit integriertem Seifenspender die Edelstahl-Sensorarmatur LOex Tuko SP. Vandalensicher, hygienisch,  für öffentliche Bereiche servicefreundlich durch großen 5-Ltr.-Seifentank.

Siehe auch Hygiene-Sensorarmatur aus Edelstahl mit integriertem Seifen- und Desinfektionsmittelspender - LOex Sunda.

Gut. Seit 1993 Kompetenz in Sensorarmatursystemen für den Arbeitsplatz.
Pulverbeschichtet, in Edelstahl, klassisch in Chrom.